個性派水回りショップパパサラダ

業界NO1の実績

  • ご利用ガイド
  • お問い合わせフォーム
  • よくある質問
  • カート

最大45%
割引!厳選人気ブランド洗面ボウルと蛇口のセットが超特価

【完売しました】Arona T.Lavatory トール水栓ブラック) 716-271-D (L105×H180/吐水口) 旧品番 716-207-13

完売しました。
次回入荷、代替品等は
お問合わせ下さい。
716-271-D

商品説明

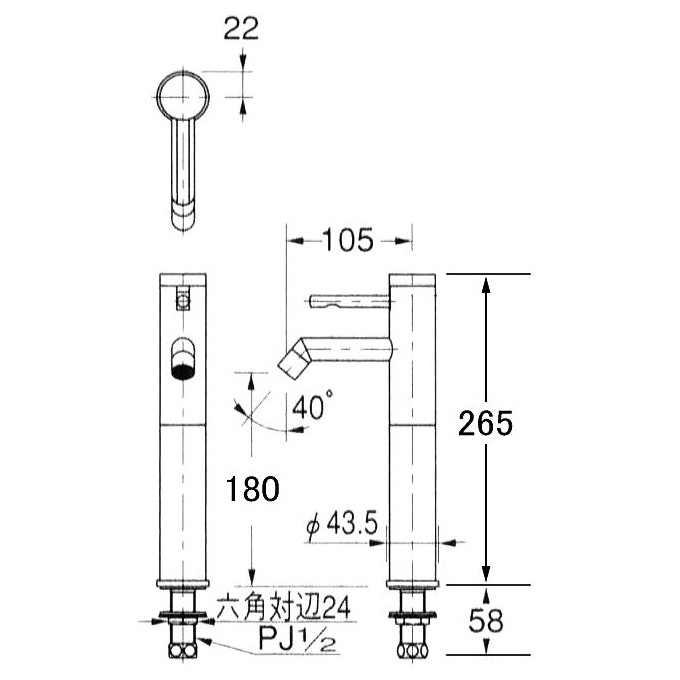
Arona T.Lavatory / トール水栓(ブラック)

モダンな住宅の水周りに合うシンプルな単水栓

デザイナーズ住宅や注文住宅に合うスタイリッシュな蛇口です。
定番のクロムの他にブロンズ・ブラック・ホワイトブロンズの4種類のカラーを取り揃えています。手洗い場の雰囲気に合わせてお色をお選びください。
また、吐水口の高さが180ミリありますのでカウンター上置き型の手洗鉢にお勧めです。

商品解説

  • JIS規格認定製品
  • 水またはお湯のどちらか一方に使用する単水栓です。トイレなどの省スペース手洗い場にお勧めです。
  • 穴サイズ:1ホールφ25ミリの洗面ボウル、カウンターに対応。
  • 水栓の取付穴はφ22~28mmで開口して下さい。水栓取付足PJ1/2の実寸はφ20.9mm ですので、最小穴径はφ22~程度で取り付け可能です。
  • もし洗面器の穴径がφ35~φ38の場合は、別売りの「変換パッキン」を使用する事によりしっかり固定できます。
  • 対応カウンター厚は5~35mmです。
  • 水の出る先端部分(吐水口)には泡沫金具が付いています。水を気泡状にする事により水はねを防ぎ、少量の水でも適度の量に感じる節水効果があります。
  • 吐水位置:高さ180×出幅105(mm)
  • 寒冷地対応品
  • スパウト固定タイプ(回転しません)
  • 商品は蛇口本体のみ。洗面器・手洗器、給水・排水部材等は別売りです。

承認図

蛇口承認図

関連オプション

バリエーション

関連商品

★給水ホース

おすすめ商品

★B-15 ガラスボウル・和風・タイル オススメ手洗器

PICK UP! カテゴリー

レビュー

投稿はありません

レビューを書く

この商品を見た人はこんな商品も見ています